Origami Folding Directions

These are directions for folding the CD enveleopes, which are based on the fold by Tom Hull at http://www.merrimack.edu/~thull/. This is a slight improvement(?) to his design, folks might want to look at his directions, instead, or as well.

diagram of origami fold

Turn the page print-side down, and fold the sides in to meet the two dark marks 3/4 of the way down from the top, which should fold along the dot/dashed lines on the print side of the page.

diagram of origami fold

Fold the top down to mark B and crease heavily, then again to mark C and crease heavily, and unfold. Fold the bottom up to mark A and crease heavily, and leave folded.

diagram of origami fold

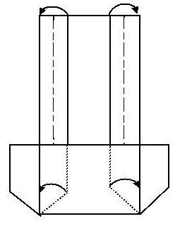
On the folded-up portion, unfold the vertical folds, while creasing on the diagonal folds marked on the page. (this needs a better picture!)

diagram of origami fold

Afterwards it looks like the above.

diagram of origami fold

Fold the vertical flaps in half.

diagram of origami fold

Now fold the side flaps in half

diagram of origami fold

And tuck them into the side pocket of the paper.

diagram of origami fold

fold down the top corners along the dashed lines

diagram of origami fold

Put the CD in the front pocket, and fold the top down, and tuck it into the pocket.

diagram of origami fold

All Done!